
扫一扫,了解详情咨询
传 真:0412-8563322
手 机:13188096776(手机微信同步)
手 机:15042298876(手机微信同步)
联系人:孙经理
QQ:137221353
邮 箱:stonesun168@sohu.com
□结构特点和应用范围
ZDLP型电子式电动单座调节阀是由3610L系列电子式电动执行机构和单座调节机构组成。电动执行机构内有伺服系统,无须另配伺服放大器,有输入讯号及电源即可控制运转,连线简单,调节机构阀芯采用顶导向,适用于对泄漏量要求严格,阀前后压差低及有一定粘度和含有纤维状介质的场合。
□型号、规格
|
类别 |
常温型 |
中温型 |
低温型 |
|
型号 |
|
|
|
|
规格 |
DN3/4"~200 |
||
□技术参数和性能指标
●单座调节机构主要技术参数
|
公称通径 mm |
G3/4″ |
20 |
25 |
32 |
40 |
50 |
65 |
80 |
100 |
125 |
150 |
200 |
||||||||||
|
阀座直径 mm |
3 |
4 |
5 |
6 |
7 |
8 |
10 |
12 |
15 |
20 |
26 |
32 |
40 |
50 |
66 |
80 |
100 |
125 |
150 |
200 |
||
|
额定流量系数 Kv |
0.08 |
0.12 |
0.20 |
0.32 |
0.5 |
0.8 |
1.2 |
2.0 |
3.2 |
5.0 |
8.0 |
12 |
20 |
32 |
50 |
80 |
120 |
200 |
280 |
450 |
||
|
公称压力 MPa |
1.6、4.0、6.4(常温); 4.0、6.4(中温); 0.6、4.0、6.4(低温) |
|||||||||||||||||||||
|
行 程 mm |
10 |
16 |
25 |
40 |
60 |
|||||||||||||||||
|
动作速度mm/s |
4.2 |
2.1 |
3.5 |
1.7 |
3.4 |
|||||||||||||||||
|
流量特性 |
直线 |
直线、等百分比 |
||||||||||||||||||||
|
介质温度 ºC |
-20~200(常温);-40~450(中温);-250~-60(低温) |
|||||||||||||||||||||
|
法兰尺寸、型式 |
PN6:按JB78-59榫槽式(低温);PN16:按JB78-59光滑式 |
|||||||||||||||||||||
|
阀 |
公 |
0.6 |
|
低温:ZG1Cr18Ni9Ti |
||||||||||||||||||
|
1.6 |
|
常温:HT200 |
||||||||||||||||||||
|
4.0 |
|
常温:ZG230-450 ZG1Cr18Ni9Ti |
||||||||||||||||||||
|
|
中温:ZG230-450 ZG1Cr18Ni9Ti |
|||||||||||||||||||||
|
|
低温: ZG1Cr18Ni9Ti |
|||||||||||||||||||||
|
6.4 |
常温:ZG230-450 ZG1Cr18Ni9Ti |
|||||||||||||||||||||
|
中温:ZG230-450 ZG1Cr18Ni9Ti |
||||||||||||||||||||||
|
低温: ZG1Cr18Ni9Ti |
||||||||||||||||||||||
|
阀芯材质 |
1Cr18Ni9 |
|||||||||||||||||||||
|
上阀盖形式 |
普通式(常温型),热片式(中温型),长颈式(低温型) |
|||||||||||||||||||||
|
配电动执行机构 |
361LSA-08 |
361LSA |
361LSB |
361LSB |
361LSC |
|||||||||||||||||
|
361LXA |
361XLB |
361LXB |
361SC |
|||||||||||||||||||
●3610L型直行程电子式电动执行机构主要技术参数
|
型 号 |
额定输出力N |
速 度 mm/s |
技术参数 |
|
361LSA-08 |
800 |
4.2 |
电源:220±10%V a.c |
|
361LSA-20 |
2000 |
2.1 |
|
|
361LSB-30 |
3000 |
3.5 |
|
|
361LSB-50 |
5000 |
1.7 |
|
|
361LSC-65 |
6500 |
3.4 |
|
|
361LSC-99 |
10000 |
2.0 |
●性能指标
|
项 目 |
指 标 值 |
||
|
基 本 误 差% |
±2.5 |
||
|
回 差% |
2.0 |
||
|
死 区% |
3.0 |
||
|
始终 |
电 开 |
始 点 |
±2.5 |
|
终 点 |
±2.5 |
||
|
电 关 |
始 点 |
±2.5 |
|
|
终 点 |
±2.5 |
||
|
额定行程偏差% |
+2.5 |
||
|
允许泄漏量1/h |
10-4×阀额定容量 |
||
●允许压差 MPa
|
公称通径 mm |
G3/4" |
20 |
25 |
32 |
40 |
50 |
65 |
80 |
100 |
125 |
150 |
200 |
||||||||
|
阀座直径 mm |
3 |
4 |
5 |
6 |
7 |
8 |
10 |
12 |
15 |
20 |
26 |
32 |
40 |
50 |
66 |
80 |
100 |
125 |
150 |
200 |
|
允许压差 |
6.4 |
4.3 |
2.2 |
3.7 |
2.2 |
2.1 |
1.42 |
1.4 |
0.91 |
0.55 |
0.47 |
0.33 |
0.17 |
|||||||
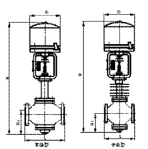
□外形尺寸
●ZDLP电动常、中温单座阀外形尺寸表 mm
|
公称 通径 |
L |
H1 |
H |
D |
重量kg |
||||||
|
PN(MPa) |
常温型 |
中温型 |
PN1.6 |
PN4.0、6.4(MPa) |
|||||||
|
1.6 |
4.0 |
6.4 |
常温 |
中温 |
|||||||
|
G3/4" |
|
75 |
75 |
30 |
497 |
534 |
225 |
|
12 |
14 |
|
|
20 |
|
180 |
190 |
50 |
637 |
747 |
|
25 |
28 |
||
|
25 |
185 |
190 |
200 |
115 |
671 |
813 |
24 |
28 |
31 |
||
|
32 |
200 |
210 |
210 |
120 |
682 |
833 |
26 |
29 |
32 |
||
|
40 |
220 |
230 |
235 |
130 |
739 |
890 |
255 |
36 |
45 |
49 |
|
|
50 |
250 |
255 |
265 |
145 |
769 |
920 |
39 |
49 |
53 |
||
|
65 |
275 |
285 |
295 |
180 |
971 |
1134 |
57 |
76 |
84 |
||
|
80 |
300 |
310 |
320 |
195 |
991 |
1154 |
72 |
95 |
105 |
||
|
100 |
350 |
355 |
370 |
200 |
1000 |
1163 |
310 |
85 |
109 |
120 |
|
|
125 |
410 |
425 |
440 |
245 |
1287 |
1499 |
150 |
175 |
190 |
||
|
150 |
450 |
460 |
475 |
255 |
1307 |
1519 |
187 |
231 |
251 |
||
|
200 |
550 |
560 |
570 |
295 |
1382 |
1594 |
242 |
365 |
395 |
||
●ZDLP型电动低温单座阀外形尺寸表 mm
|
公称 通径 |
D |
Dn |
H1 |
-100 ºC |
-200 ºC |
-250 ºC |
重量 |
|||
|
H2 |
H |
H2 |
H |
H2 |
H |
|||||
|
G3/4″ |
225 |
135 |
30 |
500 |
1032 |
700 |
1232 |
900 |
1432 |
22 |
|
20 |
250 |
50 |
1054.5 |
1254.5 |
1454.5 |
36 |
||||
|
25 |
270 |
97 |
1102 |
1302 |
1502 |
40 |
||||
|
32 |
300 |
103 |
1114 |
1314 |
1514 |
43 |
||||
|
40 |
255 |
310 |
117 |
600 |
1170 |
800 |
1370 |
1000 |
1570 |
61 |
|
50 |
340 |
132 |
1200 |
1400 |
1600 |
66 |
||||
|
65 |
380 |
161 |
1443 |
1643 |
1843 |
98 |
||||
|
80 |
410 |
171 |
1457 |
1657 |
1857 |
110 |
||||
|
100 |
470 |
175 |
1455 |
1655 |
1855 |
140 |
||||
|
125 |
310 |
550 |
230 |
700 |
1792 |
900 |
1992 |
1100 |
2192 |
225 |
|
150 |
600 |
240 |
1802 |
2002 |
2202 |
291 |
||||
|
200 |
720 |
275 |
1832 |
2032 |
2232 |
461 |
||||
注:括号内数字为PN64尺寸。
|
低温型
|
□工作温度与许用介质压力的关系
□订货须知
订货时应详细说明以下条件:
●产品型号;
●低温阀需注明使用温度或注明接管长度;
●公称通径;
●阀前后压力;
●DNG3/4"和DN200两种规格需注明阀座直径或者注明额定流量系数Kv;
●介质种类和温度范围 ●电动执行器内是否带空间加热器;
●流量特性;
●电动执行器内是否带过载保护装置;
●阀体材质;
●是否有其它特殊要求。

扫一扫,了解详情咨询
营业执照 技术支持:龙采科技