
扫一扫,了解详情咨询
传 真:0412-8563322
手 机:13188096776(手机微信同步)
手 机:15042298876(手机微信同步)
联系人:孙经理
QQ:137221353
邮 箱:stonesun168@sohu.com
| 类 别 |
常 温 型 |
中 温 型 |
低 温 型 |
|
型 号 |
|
|
|
|
规 格 |
DN25~300 |
||
□技术参数和性能指标
●双座调节机构主要技术参数
| 公称通径 mm |
25 |
32 |
40 |
50 |
65 |
80 |
100 |
125 |
150 |
200 |
250 |
300 |
||
|
额定流量系数Kv |
10 |
16 |
25 |
40 |
63 |
100 |
160 |
250 |
400 |
630 |
1000 |
1600 |
||
|
公称压力 MPa |
1.6、4.0、6.4(常温);4.0、6.4(中温);0.6、4.0、6.4(低温) |
|||||||||||||
|
行 程 mm |
16 |
25 |
40 |
60 |
100 |
|||||||||
|
动作速度 mm/s |
2.1 |
3.5 |
1.7 |
3.4 |
2.0 |
|||||||||
|
配电动执行机构型号 |
361LSA-20 |
361LSB-30 |
361LSB-50 |
361LSC-65 |
361LSC-99 |
|||||||||
|
流量特性 |
直线、等百分比 |
|||||||||||||
|
介质温度 ºC |
-20~200(常温);-40~450(中温);-250~-60(低温) |
|||||||||||||
|
法兰尺寸、型式 |
PN6:按JB78-59榫槽式(低温) PN16:按JB78-59光滑式 |
|||||||||||||
|
阀体 |
公称压力(MPa) |
0.6 |
低温: ZG1Cr18Ni9Ti |
|||||||||||
|
1.6 |
常温: HT200 |
|||||||||||||
|
4.0 |
常温: ZG230-450 ZG1Cr18Ni9Ti |
|||||||||||||
|
中温: ZG230-450 ZG1Cr18Ni9Ti |
||||||||||||||
|
低温: ZG1Cr18Ni9Ti |
||||||||||||||
注:1、根据现场使用情况,可配防爆型执行机构。
2、可为用户提供GB、ANSI、JPI、JIS、DIN等法兰结构型式,法兰距按用户需要确定。
●3610L型直行程电子式电动执行机构主要技术参数
| 型 号 |
额定输出力N |
速 度mm/s |
技术参数 |
|
361LSA-20 |
2000 |
2.1 |
电源:220±10%V a.c |
|
361LSB-30 |
3000 |
3.5 |
|
|
361LSB-50 |
5000 |
1.7 |
|
|
361LSC-65 |
6500 |
3.4 |
|
|
361LSC-99 |
10000 |
2.0 |
●性能指标
| 项 目 |
指 标 值 |
||
|
基 本 误 差 % |
±2.5 |
||
|
回 差 % |
2.0 |
||
|
死 区 % |
3.0 |
||
|
始终 |
电开 |
始 点 |
±2.5 |
|
终 点 |
±2.5 |
||
|
电关 |
始 点 |
±2.5 |
|
|
终 点 |
±2.5 |
||
|
额定行程偏差% |
+2.5 |
||
|
允许泄漏量1/h |
|
||
●允许压差
| 公称通径 mm |
25 |
32 |
40 |
50 |
65 |
80 |
100 |
125 |
150 |
200 |
250 |
300 |
|
允许压差 MPa |
6.4 |
3.2 |
4.0 |
3.4 |
||||||||
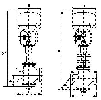
□外形尺寸
●ZDLN电动常中温双座阀外形尺寸表 mm
| 公称通径 |
L |
H1 |
H |
D |
重量kg |
|||||
|
PN(MPa) |
常温 |
中温 |
PN |
PN4.0、6.4(MPa) |
||||||
|
1.6 |
4.0 |
6.4 |
常温 |
中温 |
||||||
|
25 |
185 |
190 |
200 |
120 |
680 |
830 |
225 |
26 |
30 |
33 |
|
32 |
200 |
210 |
210 |
120 |
683 |
834 |
28 |
31 |
34 |
|
|
40 |
220 |
230 |
235 |
140 |
758 |
909 |
255 |
38 |
47 |
51 |
|
50 |
250 |
255 |
265 |
145 |
768 |
919 |
41 |
51 |
55 |
|
|
65 |
275 |
285 |
295 |
190 |
989 |
1152 |
61 |
80 |
88 |
|
|
80 |
300 |
310 |
320 |
210 |
1022 |
1185 |
77 |
100 |
110 |
|
|
100 |
350 |
355 |
370 |
220 |
1044 |
1207 |
96 |
120 |
131 |
|
|
125 |
410 |
425 |
440 |
270 |
1336 |
1548 |
310 |
160 |
195 |
244 |
|
150 |
450 |
460 |
475 |
280 |
1358 |
1570 |
205 |
249 |
269 |
|
|
200 |
550 |
560 |
570 |
320 |
1436 |
1648 |
275 |
402 |
435 |
|
|
250 |
640 |
660 |
670 |
450 |
1707 |
1947 |
485 |
605 |
665 |
|
|
300 |
720 |
735 |
750 |
465 |
1767 |
2008 |
635 |
755 |
825 |
|
●ZDLN型电动低温双座阀外形尺寸表 mm
|
公称 通径 |
D |
Dn |
H1 |
-100 ºC |
-200 ºC |
-250 ºC |
重量 |
|||
|
H2 |
H |
H2 |
H |
H2 |
H |
|||||
|
25 |
225 |
270 |
102 |
500 |
1112 |
700 |
1312 |
900 |
1512 |
41 |
|
32 |
300 |
105 |
1118 |
1318 |
1518 |
44 |
||||
|
40 |
255 |
310 |
127 |
1190 |
1390 |
1590 |
62 |
|||
|
50 |
340 |
132 |
1200 |
1400 |
1600 |
67 |
||||
|
65 |
380 |
171 |
600 |
1463 |
800 |
1663 |
1000 |
1863 |
100 |
|
|
80 |
410 |
188 |
1489 |
1689 |
1889 |
112 |
||||
|
100 |
470 |
200 |
1505 |
1705 |
1905 |
143 |
||||
|
125 |
310 |
550 |
250 |
700 |
1842 |
900 |
2042 |
1100 |
2242 |
229 |
|
150 |
600 |
260 |
1852 |
2052 |
2252 |
296 |
||||
|
200 |
720 |
300 |
1892 |
2092 |
2292 |
471 |
||||
注:括号内数字为PN64尺寸。
![]() 常温型 中温型 |
|
□工作温度与许用介质压力的关系
□订货须知
订货时应详细说明以下条件:
●产品型号;
●低温阀需注明使用温度或注明接管长度;
●公称通径;
●阀前后压力;
●额定流量系数Kv;
●介质种类和温度范围;
●流量特性;
●电动执行器内是否带空间加热器;
●阀体材质;

扫一扫,了解详情咨询
营业执照 技术支持:龙采科技